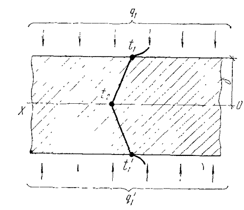
Интенсивность распространения температуры в слое пенообразующей смеси при стационарном режиме зависит от значения ее λ, причем тепловая проводимость слоя (λ/δ) тем больше, чем меньше его толщина (δ). Отсюда следует, что минимальное значение температурного градиента Δt между точками t1 и t2 (рис. 5.3) может быть при наибольшем значении λ смеси и возможно меньшей толщине слоя δ. Следовательно, выравнивание температуры в слое спекаемой смеси может осуществляться путем повышения ее плотности любым из известных способов [3, 247].

Рис. 5.3. Теплопередача в слое пенообразующей смеси при стационарном режиме
Для выбора более выгодных способов уплотнения пенообразующей смеси были рассчитаны значения тепловых потоков q и q', воспринимаемых плоскостью х — О (рис. 5.3), при различных значениях λ и δ.
Значение 2δ при γ = 700 кг/м3 (неуплотненное состояние) принято равным 27 мм, что соответствует величине навески, необходимой для вспенивания блока пеностекла высотой 100 мм при объемной массе его 200 кг/м3.
В зависимости от степени дисперсности пенообразующей смеси объемная масса ее колеблется в пределах 700— 1000 кг/м3. С помощью вибрации у смеси может быть повышена до 1100—1200 кг/м3. Дальнейшее уплотнение возможно лишь прессованием.
Анализ зависимости q = f(λ/δ)Δt (рис. 5.4) показывает, что тепловая проводимость слоя повышается в 1,5 раза в случае вибрации пенообразующей смеси и в 5,5 раза при сравнительно небольшом (15—20 кгс/см2) усилии прессования.
Для выбора оптимальной температурной кривой вспенивания пеностекла необходимо также проследить за ходом структурных изменений, протекающих в спеках и пеностекле. С этой целью равновеликие навески смеси с различной исходной плотностью нагревались до 850 °С в металлической форме по заданной температурной кривой, принятой одинаковой для всех проб (рис. 5.5)
Максимальное значение градиента температуры имеет образец из смеси, уплотненной прессованием, затем по мере уменьшения плотности смеси величина температурного градиента снижается (рис. 5.5, кривые 1, 3).
Такая зависимость прослеживается лишь в области температур 20—600 °С. С началом спекания стекла скорость распространения температуры во всех трех образцах почти выравнивается, что связано с последующим повышением плотности спеков вибрированной смеси (рис. 5.5, кривая 3) и неуплотненной порошкообразной (рис. 5.5, кривая 1).
Характерно, что температура в центре образца неуплотненной смеси достигает максимального значения (850 °С) к моменту завершения процесса вспенивания, что подтверждает наши предположения о ходе процесса вспенивания по схеме, приведенной на рис. 5.1.
По мере повышения исходной плотности смеси интервал температуры вспенивания расширяется. Для смеси, уплотненной вибрацией, он составляет 14 мин, прессованием — 17,5 мин. Для этих кривых характерно отсутствие в начале их изгибов, свойственных неуплотненной смеси, которые указывают на наличие усадочных явлений при спекании.

Таким образом, уплотнение пенообразующей смеси позволяет не только сократить продолжительность их нагрева до температуры вспенивания, но и вести процесс вспенивания при более стабильной температуре и в большем временном интервале. Это, как вытекает из уравнений (4.41) и (4.42) является наиболее необходимым условием для получения пеностекла с высокой структурно-механической прочностью.
Наиболее сложный характер температурной кривой вспенивания, очевидно, должен быть на участке нагрева смеси до tmax вспенивания, поскольку в данном случае мы имеем область теплопередачи с нестационарным режимом. Здесь процесс теплопередачи осложнен структурными и фазовыми превращениями, происходящими по-разному в нагреваемом образце (брикете). Сопоставление экспериментальных данных, полученных при нагревании брикетов пенообразующей смеси с различной исходной плотностью (700—1600 кг/м3), с данными, полученными расчетным путем, показывает, что скорость нагрева на участке от начала процесса до температуры спекания стекла может не регламентироваться. Ее нужно выбирать исходя из возможностей печи вспенивания.
Расчет продолжительности нагрева (т) пенообразующей смеси на этом участке кривой можно вести по основному уравнению теплопроводности (5.1), учитывающему массу и форму брикета:

Где а — коэффициент теплопередачи от печи к брикету; fб — поверхность брикета; Gб — его масса; Сб — удельная массовая теплоемкость.
Расхождение в расчетных величинах для брикетов с постоянной объемной массой (γ =1400 кг/м3) и равной величиной навески (по 4 кг), но с различным значением fб (0,13 и 0,322 м2) составляет не более 13%, что вполне допустимо для практических целей.
- 1 •
- 2 •
- 3 •
- 4 •
- 5 •
- 6 •
- 7 •
- 8 •
- 9 •
- 10 •
- 11 •
- 12 •
- 13 •
- 14 •
- 15
- 16 •
- 17 •
- 18 •
- 19 •
- 20 •
- 21 •
- 22 •
- 23 •
- 24 •
- 25 •
- 26 •
- 27 •
- 28 •
- 29 •
- 30
- 31 •
- 32 •
- 33 •
- 34 •
- 35 •
- 36 •
- 37 •
- 38 •
- 39 •
- 40 •
- 41 •
- 42 •
- 43 •
- 44 •
- 45
- 46 •
- 47 •
- 48 •
- 49 •
- 50 •
- 51 •
- 52 •
- 53 •
- 54 •
- 55 •
- 56 •
- 57 •
- 58 •
- 59 •
- 60
- 61 •
- 62 •
- 63 •
- 64 •
- 65 •
- 66 •
- 67 •
- 68 •
- 69 •
- 70 •
- 71 •
- 72 •
- 73 •
- 74 •
- 75 •
- 76
