Сами же твердые частицы, локализируясь в вершинах многогранников, также повышают общую жесткость пеномасс, что с точки зрения восстановления структуры является нежелательным. Исходя из данного положения, для выбора и обоснования принципов формования пеностекла необходимо более детальное исследование его деформационно-упругих характеристик в области температур формования и отжига.
3. Кинетика вынужденной деформации структуры пеностекла
При вспенивании на несмачиваемой подложке небольшой пробы пенообразующей смеси с различной геометрической формой (куб, цилиндр, конус) прослеживается стремление ее к минимальному объему (шару). В связи с этим в пиропластическом пеностекле возможна деформация как отдельных структурных элементов, так и в целом ячеек. Если в начальной стадии вспенивания стремление с поверхности в объем невелико, то по мере снижения вязкости расплава проявление сил поверхностного натяжения настолько активное, что в результате формируется шарик вспененного пеностекла. Это говорит о том, что в процессе развития ячейки совершают не только поступательное, но и вращательное движение, вызываемое процессами перемещения пеномассы в форме и изменением центра тяжести ячеек вследствие неравномерных перемещений внутрипластинчатой жидкости (расплава) и вихревых движений заключенных в них газов.
Исследование структуры пеностекла на различных стадиях ее развития показало, что остаточная деформация ячеек наблюдается лишь в тех случаях, когда они вырастают до сравнительно больших размеров (2—3 мм). В мелкопористом пеностекле деформация ячеек практически не наблюдается, что связано главным образом с повышением внутри их давления (р):

Где r— радиус ячейки; δ — коэффициент поверхностного натяжения. В связи с повышенной структурно-механической прочностью мелкопористого пеностекла [50, 306], обусловленной более высокими давлением газов внутри ячеек и упругостью самих разделительных стенок, возможно также восстановление частично деформированных ячеек.
Скорость восстановления тем больше, чем выше давление внутри их, меньше толщина разделительных стенок и вязкость расплава.
Так как движение внутрипластинчатой жидкости к нижнему полюсу пластинки нарушается вследствие вращения ее или деформации и в связи с этим выравниваются локальные оттоки жидкости в пластинке, то следует ожидать, что при прочих равных условиях движущийся пузырь (ячейка) будет существовать дольше, чем неподвижный. В связи с этим формирование ячеистой структуры в движущейся грануле [3, 52] будет протекать в более благоприятных условиях, чем, например, у пеностекла, вспениваемого в неподвижной форме.
Согласно работе [55], перемещение внутрипластинчатой жидкости в силикатной пене происходит лишь внутри разделительной стенки, так как в ней отсутствуют каналы Гиббса. Поэтому по мере развития пены движение в пластинке будет тормозиться уменьшением ее толщины. Последняя в начальных стадиях вспенивания может регулироваться дисперсностью пенообразующей смеси и ее исходной плотностью. В данном случае применение высокодисперсных газообразователей, например газовой сажи, будет способствовать повышению устойчивости пиропластической пены и склонности к формованию изделий без остаточных деформаций в структуре.
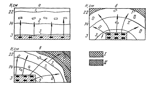
Для выбора наиболее благоприятных условий формования пеностекла изучалась его структура при различных условиях вспенивания проб пенообразующей смеси состава стекло — газовая сажа (0,3%). Заготовки из смеси (уплотнение при р = 15 кгс/см2 до размеров 10*10*4 см) вспенивались в неподвижных прямоугольных формах. Для фиксации сдвигов пеномассы при вспенивании и определения направлений ее движения применялись индикаторы (пластинки из цветного пеностекла 2*2*0,5 см), которые соответствующим образом располагались в смеси перед ее прессованием. Оценка влияния этих факторов при постоянном температурно-временном режиме вспенивания проводилась по объемной массе и структуре пеностекла.
При равномерном распределении пенообразующей смеси в форме (рис. 5.8, а) индикаторные пластинки перемещаются вертикально вверх без существенных изменений положения относительно горизонтальной плоскости, что свидетельствует о равномерном вертикально направленном вспенивании блока по всей плоскости формы. Объемная масса пеностекла по высоте формы незначительно изменяется, несколько снижаясь к верху блока, что по-видимому, связано с влиянием гидростатического давления столбика пеномассы. Такой характер вспенивания пеностекла указывает на отсутствие явлений, вызывающих деформацию структурных элементов ячеек, что подтверждается анализом структуры пеностекла, для которой характерны равновеликие ячейки преимущественно полиэдрической формы.
Согласно рис. 5.8, а, вспенивание блока в любой точке должно быть почти одинаковым и направленным только вверх. Поэтому при проектировании установок, в которых предусмотрена такая схема размещения пенообразующей смеси, особое внимание должно уделяться изотермии по сечению канала печи вспенивания.
Характер изолиний для объемной массы пеностекла при вспенивании равновеликих заготовок пенообразующей смеси, расположенных в центре днища формы, свидетельствует о неравномерном вспенивании пеностекла в различных точках горизонтальной плоскости (рис. 5.8, б, кривые 1—3). Кроме того, изменение положения индикаторов в плоскости сечения блока указывает на наличие структурных сдвигов пеномассы в процесс вспенивания. Смещение пластинок относительно своей оси подтверждает тот факт, что элементарные ячейки также совершают не только поступательное движение, но и вращательное. Анализ структуры пеностекла показывает, что, несмотря на более сложный путь движения пеномассы, форма ячеек существенно не нарушается. Размер их увеличивается по мере отдаления от места расположения исходной заготовки пенообразующей смеси, что подтверждается снижением объемной массы пеностекла.

Рис. 5.8. Изменение объемной массы пеностекла и положения индикаторных пластинок по сечению блока при вспенивании в форме: а — при равномерном распределении пенообразующей смеси по ее днищу; б — при вспенивании заготовки пенообразующей смеси, расположенной в центре днища формы; в — при вспенивании заготовки пенообразующей смеси, расположенной у края днища формы (1 — область структуры пеностекла с остаточной деформацией; II — область структуры пеностекла с выраженной остаточной деформацией).
Возможно Вас заинтересует:
- разнообразная стретч пленка.
- 1 •
- 2 •
- 3 •
- 4 •
- 5 •
- 6 •
- 7 •
- 8 •
- 9 •
- 10 •
- 11 •
- 12 •
- 13 •
- 14 •
- 15
- 16 •
- 17 •
- 18 •
- 19 •
- 20 •
- 21 •
- 22 •
- 23 •
- 24 •
- 25 •
- 26 •
- 27 •
- 28 •
- 29 •
- 30
- 31 •
- 32 •
- 33 •
- 34 •
- 35 •
- 36 •
- 37 •
- 38 •
- 39 •
- 40 •
- 41 •
- 42 •
- 43 •
- 44 •
- 45
- 46 •
- 47 •
- 48 •
- 49 •
- 50 •
- 51 •
- 52 •
- 53 •
- 54 •
- 55 •
- 56 •
- 57 •
- 58 •
- 59 •
- 60
- 61 •
- 62 •
- 63 •
- 64 •
- 65 •
- 66 •
- 67 •
- 68 •
- 69 •
- 70 •
- 71 •
- 72 •
- 73 •
- 74 •
- 75 •
- 76
